软件开发电话:
13804721210
首页
成功案例
定制开发服务
解决方案
电子招投标采购解决方案
各场景物联网解决方案
企业B2B云渠道订货解决方案
一物一码精益化管理解决方案
手写公文评阅解决方案
教育培训机构管理解决方案
生产制造执行系统(MES)
网络货运平台解决方案
磁铁生产成本核算解决方案
企业动态
企业介绍
联系我们
成功案例
首页
成功案例
收发文批阅系统
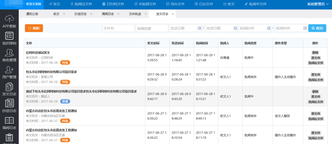
简介:收发文系统,完成文件的一对一传送、审批过程;利用碎片化时间,提高工作效率;方便的文件存档、调阅功能;本系统基于Android操作系统,实现平板电脑上手写相当于纸质写书的体验;
收到文件后,可以直接上传电子版,或是通过调用高拍仪,扫描成电子版
查看发送文件的记录
pad端效果展示